1220/J XXII. GP

Eingelangt am 04.12.2003
Dieser Text ist elektronisch textinterpretiert. Abweichungen vom Original sind möglich.

Anfrage

der Abgeordneten Dr. Bleckmann
und Kollegen

an den Präsidenten des Rechnungshofes

betreffend Finanzierung der SPÖ durch Spenden aus dem SPÖ Firmengeflecht

Die SPÖ ruft auf ihrer Homepage www.spoe.at zu Spenden für einen Solidaritätsfonds
auf. Wörtlich heißt es unter anderem bei diesem Spendenaufruf:

"Die SPÖ ist eine Partei, die über keine Schwarzgeldkonten oder dubiose "Sozialfonds"
verfügt. Mehr als jede andere Partei ist die SPÖ daher auf Spenden und Beiträge ihrer
Mitglieder und Freunde angewiesen. Jede Unterstützung ist ein dringend benötigter
Kraftschub für die Sozialdemokratie."

Gemäß § 4 Abs 5 Z 6 Parteiengesetz sind Spenden politischer Parteien im
Rechenschaftsbericht gesondert auszuweisen.

Gemäß § 4 Abs 7 Parteiengesetz müssen in einer Anlage zum Rechenschaftsbericht
(Spendenliste) die im Berichtsjahr an die Partei oder eine Landes-, Bezirks- oder
Lokalorganisation geleisteten Spenden, die den Betrag von 7.260 Euro übersteigen, wie
folgt ausgewiesen werden.

-    Gesamtsumme der Spenden natürlicher Personen

-    Gesamtsumme der Spenden von im Firmenbuch eingetragenen natürlichen und
juristischen Personen

-    Gesamtsumme der Spenden von Vereinen

-    Gesamtsumme der Spenden von Körperschaften öffentlichen Rechts, von auf
freiwilliger Mitgliedschaft beruhenden Berufs- und Wirtschaftsverbänden, von
Anstalten, Stiftungen oder Fonds.

Rund um die SPÖ hat sich seit vielen Jahren ein Netzwerk aus Firmenbeteiligungen,
Funktionären und Managern gebildet.

 

Zu nennen im Netzwerk der Firmenbeteiligungen sind hier etwa

    Firma "Gloriette"Betriebs GmbH

    Firma IMAGE Ident Marketing GmbH

    Firma"Merkur-Unternehmensbeteiligung, Vermögensverwaltung und
Finanzierungsvermittlung Gesellschaft m.b.H."

    Firma Verlag der SPÖ Gesellschaft m.b.H

    Firma Echo-Werbeagentur GmbH.


    Firma PROGRESS Beteiligungsges.m.b.H.

   Firma Gewista-Werbegesellschaft m.b.H.

    Firma Scheibmaier Gesellschaft m.b.H.

   Firma VWZ Zeitschriftenverlag Gesellschaft m.b.H.

   Verband Wr. Arbeiterheime

   Firma A.B.H. Beteiligungsgesellschaft m.b.H.

   Firma A.W.H. Beteiligungsgesellschaft m.b.H.

   Firma SOZIALBAU gemeinnützige Wohnungsaktiengesellschaft

     Volksbau, gemeinnützige Wohn- und Siedlungsgenossenschaft registrierte
Genossenschaft mit beschränkter Haftung

    Wohnbau, gemeinnützige Wohn- und Siedlungsgenossenschaft registrierte
Genossenschaft mit beschränkter Haftung

   Urbanbau Gemeinnützige Bau-, Wohnungs- und Stadterneuerungsgesellschaft
m.b.H.

   Firma Familie, gemeinnützige Wohn- und Siedlungsgenossenschaft registrierte
Genossenschaft mit beschränkter Haftung

    Firma Erste gemeinnützige Wohnungsgesellschaft "Heimstätte Gesellschaft m.b.H."

     Firma GEWOG Neues Heim Gemeinnützige Wohnungsgesellschaft m.b.H.

     Eisenhof

   Firma Gemeinnützige Wohn- und Siedlungsgenossenschaft Ennstal registrierte
Genossenschaft mit beschränkter Haftung Liezen

     Firma "Kärntner Friedenswerk" gemeinnützige Wohnungsgesellschaft m.b.H.

     Firma "Neue Heimat" Gemeinnützige Wohnungs- und Siedlungsgesellschaft in
Oberösterreich, Gesellschaft mit beschränkter Haftung

   Firma "Neue Heimat" Gemeinnützige Wohnungs- und Siedlungsgesellschaft in
Steiermark, Gesellschaft mit beschränkter Haftung

     Firma Bauträgergesellschaft für Infrastruktureinrichtungen Gesellschaft m.b.H.

     Firma Erste gemeinnützige Wohnungsgesellschaft "Heimstätte Gesellschaft m.b.H."

     Stadtbild Kulturmarketing Ges.m.b.H.

     Allgemeine Finanzierungs-, Geschäftsführungs-und Beteiligungsgesellschaft m.b.H.

    Projekt-Marketing Beratungsgesellschaft m.b.H.

     Trotzdem Verlags Ges.mbH.

     Projektbau

     KLEA Terrain- und Bau GesmbH

     Home -KLEA Immobilien DevelopementsgesmbH

    Delta Immobilien-Leasing GembH

     Brunnengasse 13 Verwaltungs GmbH

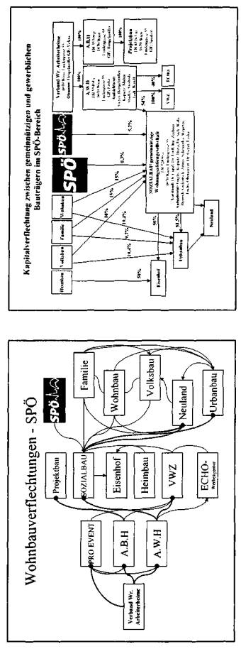
Offensichtlich sind auch die Verflechtungen zwischen Politik und (gemeinnützigem und
gewerblichem) Wohnbausektor, wie dies bereits die AK im Jahr 1990 in einer Studie
festgestellt hat. Beiliegende Grafiken zeigen sehr klar diese Verflechtungen.

Damit diese Verflechtung zwischen Politik und (gemeinnützigem und gewerblichem)
Wohnbau nicht zum Schaden der Mieter, Eigentümer und auch dem Steuerzahler, der
mit seinen Steuern die Wohnbauförderung „finanziert", gereicht, sollte es zumindest eine
behördliche Überwachung der gesamten Geschäftsführung gemeinnütziger



Bauvereinigungen gem. § 29 WGG (Wohnungsgemeinnützigkeitsgesetz) mit Biss
geben.

Allerdings liegt das Aufsichtsrecht beim Amt der Wiener Landesregierung vertreten
durch den zuständigen Wohnbaustadtrat Werner Faymann. Sie bedient sich des
Revisionsverbandes, in dessen geschäftsführendem Vorstand Dr. Ludl eine leitende
Stellung einnimmt. Auch der ehemalige Wohnbausprecher der SPÖ Kurt Eder ist sowohl
im Aufsichtsrat des Revisionsverbandes als auch im Sozialbaukonzern tätig. Als
Eigentümervertreter ist Frau Bures (SPÖ-Bundesgeschäftsführerin und nunmehrige
Wohnbausprecherin) für die Bestellung des Aufsichtsrates im Sozialbaukonzern
zuständig. Frau Bures und Herr Faymann kommen aus der sozialistischen
Mietervereinigung Österreichs. Die verstärkte Einflußnahme von Kapitalgesellschaften
im Rahmen des gemeinnützigen Wohnbaus hat dazu geführt, daß der Revisionsverband
seine Aufgaben als Kontrollorgan und Interessensvertretung nicht mehr ausreichend
wahrnehmen kann. Aber auch in der Vergangenheit hat die Kontrolle bereits weitgehend
versagt.

Daher ist es nicht verwunderlich, dass beim Kauf von Grundstücken durch o.a.
Wohnbaufirmen sehr oft eine weitere Firma, deren Eigentümer sich ebenfalls im SPÖ-
Netzwerk befinden, „zwischengeschaltet" wurde, um den Kaufpreis für dieses
Grundstück erheblich zu erhöhen. Bei manchen Grundstückstransaktionen kam es zur
Verdoppelung des ursprünglichen Preises.

Zum Beispiel kaufte die Sozialbau in der zweiten Hälfte der neunziger Jahre eine
Liegenschaft um ca. 4,5 Mio Schilling von der Brunnengasse 13 VerwaltungsGmbH,
welche dafür vorher nur 2 Mio. Schilling bezahlt hat. In einem anderen Fall kaufte die
Volksbau in der ersten Hälfte der neunziger Jahre eine Liegenschaft um 67 Mio.
Schilling von der Fa. Delta Immobilien Leasing GesmbH, welche diese zuvor um 43,3
Mio. Schilling erworben hat. Geschäftsführer der Delta Immobilien Leasing GesmbH war
Herr Mag. Peter Kölbel, der einige Jahre zuvor Pressesprecher bei einem
sozialistischem Verkehrsminister gewesen ist. Die Firmen Sozialbau und Neuland
bezahlen gemeinsam 80 Mio. Schilling an die Home-KLEA Immobilien
DevelopementsgesmbH. Deren Kaufpreis für die Immobilie betrug einige Jahre zuvor
nur ca. 55 Mio. Schilling.

Allerdings darf gem. WGG jedoch bei der Preisberechnung des Entgeltes für die
Überlassung des Gebrauches einer Wohnung oder für die Übertragung von (Mit-)
Eigentum hinsichtlich der Grundkosten immer nur der Verkehrswert an die Mieter und
Eigentümer weiterverrechnet werden. Üblicherweise wurden jedoch die tatsächlich
aufgewendeten Grundkosten weiterverrechnet.

Hinter diesem Netzwerk von Firmenbeteiligungen steht ein SPÖ - Netzwerk von
Managern und Funktionären, wie etwa :

• Dr. Christoph Matznetter (SPÖ-Parteikassier): Gesellschafter: Matznetter
Steuerberatungsgesellschaft                              m.b.H., STANDARD
Wirtschaftsprüfungsgesellschaft m.b.H., Geschäftsführer: "Merkur-Treuhand"
Wirtschaftstreuhand- und Steuerberatungsgesellschaft m.b.H., Matznetter



Steuerberatungsgesellschaft                              m.b.H., STANDARD
Wirtschaftsprüfungsgesellschaft m.b.H., Vorstand: PYROR Privatstiftung, Roma
Privatstiftung, Aufsichtsrat: "Merkur" Unternehmensbeteiligung,
Vermögensverwaltung und Finanzierungsvermittlung Gesellschaft m.b.H., Nord-
Süd-Institut für Entwicklungszusammenarbeit-Gemeinnützige GmbH, PromOcean
Werbeartikel AG

Werner Obermayer: Geschäftsführer: "Merkur" Unternehmensbeteiligung,
Vermögensverwaltung und Finanzierungsvermittlung Gesellschaft m.b.H., IMAGE
Ident Marketing GmbH, Verlag der SPÖ Gesellschaft m.b.H., Aufsichtsrat: ECHO
Werbeagentur Gesellschaft m.b.H., SOZIALBAU gemeinnützige
Wohnungsaktiengesellschaft

Mag. Dr Maximilian Weikhart: Geschäftsführer: B A l Bauträger Austria
Immobilien GmbH, Immobilien Holding GmbH, KLEA Terrain- und Bau-
Gesellschaft m.b.H., KRISTALL Wien Mitte Geschäftsführung GmbH, Kur- und
Sporthotel Gesellschaft m.b.H, Verlag der SPÖ Gesellschaft m.b.H., WIEN-
MITTE            BAUPROJEKTMANAGEMENT GESELLSCHAFT M.B.H.,
Vorstand: Gemeinnützige Bau- u. Wohnungsgenossenschaft "Wien-Süd"
eingetragene Genossenschaft mit beschränkter Haftung, Aufsichtsrat:
"Kabelwerk" Bauträger GmbH, Donau-City - Wohnbau AG Gemeinnützige
Aktiengesellschaft,

Erste Wiener Hotel - Aktiengesellschaft, Gemeinnützige Wohnungsgesellschaft
"Arthur Krupp" Gesellschaft mit beschränkter Haftung,) PRO WOHNBAU AG,
Sportpark Süssenbrunn Errichtungs- und Betriebsaktiengesellschaft

    KommRat Bernd Thorsten Schmid: Gesellschafter: Cafe "Gloriette" Betriebs
GmbH,              Geschäftsführer: "Merkur" Unternehmensbeteiligung,
Vermögensverwaltung und Finanzierungsvermittlung Gesellschaft m.b.H., Cafe
"Gloriette" Betriebs GmbH, Aufsichtsrat: Stadt Wien Marketing Service GmbH

    Helmut Laska: Geschäftsführer: Verband Wr. Arbeiterheime, A.W.H.
Beteiligungsgesellschaft m.b.H Aufsichtsrat: ECHO Werbeagentur Gesellschaft
m.b.H., Neuland gemeinnützige Wohnbau-Gesellschaft m.b.H; SOZIALBAU
gemeinnützige Wohnungsaktiengesellschaft, Urbanbau Gemeinnützige Bau-,
Wohnungs-                  und Stadterneuerungsgesellschaft m.b.H.

    Karl Hengelmüller: Vorstand: Verband Wr. Arbeiterheime, Geschäftsführer:
A.B.H. Beteiligungsgesellschaft m.b.H., Wohnbau, Aufsichtsrat: A.W.H.
Beteiligungsgesellschaft m.b.H., APHRODITE Bauträger Aktiengesellschaft,
Verkehrsverbund             Ost-Region (VOR) Gesellschaft m.b.H.

   Harry Kopietz: Aufsichtsrat: A.W.H, Beteiligungsgesellschaft m.b.H., 1070 Wien
Neuland gemeinnützige Wohnbau-Gesellschaft m.b.H., 1070 Wien
SOZIALBAU gemeinnützige Wohnungsaktiengesellschaft, 1070 Wien
Urbanbau Gemeinnützige Bau-, Wohnungs- und Stadterneuerungsgesellschaft
m.b.H.


• Mag. Werner Muhm: Aufsichtsrat: A.W.H. Beteiligungsgesellschaft m.b.H.,
voestalpine Stahl GmbH, WIENER STADTWERKE Holding AG

  GD Dkfm. Klaus Stadier: Aufsichtsrat A.W.H. Beteiligungsgesellschaft m.b.H.,
Vereinigte Bühnen Wien Ges.m.b.H., Wiener Stadthalle - Betriebs- und
Veranstaltungsgesellschaft m.b.H., WIENER STÄDTISCHE Allgemeine
Versicherung Aktiengesellschaft

• Hermann Gugler: Gesellschafter: Dietrich & Gugler Revisions- und
Treuhandgesellschaft m.b.H., Kapital & Vorsorge GesmbH, Geschäftsführer:
PROGRESS Beteiligungsges.m.b.H., Vorstand: BA-PRIMA-Privatstiftung, Johann
Christoph Allmayer-Beck'sche Privatstiftung, 1010 Wien, Aufsichtsrat: Gewista-
Werbegesellschaft m.b.H., Neuland gemeinnützige Wohnbau-Gesellschaft
m.b.H., SOZIALBAU gemeinnützige Wohnungsaktiengesellschaft, Urbanbau
Gemeinnützige Bau-, Wohnungs- und Stadterneuerungsgesellschaft m.b.H.,
Wiener Holding GmbH, 1010 Wien, Wiener Städtische Wechselseitige
Versicherungsanstalt-Vermögensverwaltung, 1010 Wien, Europlakat International
WerbeGmbH

  Karl Javurek-Steiner: Geschäftsführer: Außenwerbung Tschechien - Slowakei
Beteiligungs-Ges.m.b.H., Gewista Media Holding GmbH, Gewista-
Werbegesellschaft m.b.H., R+C Plakatforschung und -kontrolle Ges.m.b.H.,
Aufsichtsrat: Europlakat International Werbeges.m.b.H., OBJEKT WERBUNG
GmbH

   Dir. Karl Schmutzer: Geschäftsführer: B & C Beteiligungsmanagement GmbH, B
& C Holding GmbH, B & C Imperial Holding GmbH, Hannes Pribitzer Gesellschaft
m.b.H., JCDecaux Central Eastern Europe Holding GmbH, JCDecaux Invest
Holding GmbH, JCDecaux Invest Sub Holding GmbH, Rudolf Hinterecker
Gesellschaft m.b.H., Walter Lederer Gesellschaft m.b.H., Wiener
Porzellanmanufaktur Augarten-Beteiligungsverwaltungsgesellschaft m.b.H.,
Prokurist: B & C Baubeteiligungs GmbH, B & C Handelsholding GmbH, BAIH
Beteiligungsverwaltungs GmbH, 1010 Wien Aufsichtsrat: Allgemeine
Baugesellschaft-A.                                    Porr Aktiengesellschaft
Gewista-Werbegesellschaft m.b.H., Heilbad Sauerbrunn Betriebsgesellschaft
m.b.H., Imperial Hotels Austria Aktiengesellschaft, Industrie- und Forst-
Verwaltung Aktiengesellschaft, Lenzing Aktiengesellschaft, Österreichisches
Verkehrsbüro Aktiengesellschaft, Palais am Stadtpark Hotel Betriebs-GmbH,
Porr Projekt und Hochbau Aktiengesellschaft, Porr Technobau und Umwelt
Aktiengesellschaft, Semperit Aktiengesellschaft Holding, UBM
Realitätenentwicklung Aktiengesellschaft, Wiener Betriebs- und Baugesellschaft
m.b.H., Wiener Kühlhaus - Frigoscandia Gesellschaft m.b.H., Wienerberger AG

    Ing. Wilhelm Zechner: Vorstand: SOZIALBAU gemeinnützige
Wohnungsaktiengesellschaft, Prokurist: Familie, gemeinnützige Wohn- und
Siedlungsgenossenschaft registrierte Genossenschaft mit beschränkter Haftung,


Neuland gemeinnützige Wohnbau-Gesellschaft m.b.H., Urbanbau Gemeinnützige
Bau-, Wohnungs- und Stadterneuerungsgesellschaft m.b.H., Volksbau,
gemeinnützige Wohn- und Siedlungsgenossenschaft registrierte Genossenschaft
mit beschränkter Haftung, Wohnbau, gemeinnützige Wohn- und
Siedlungsgenossenschaft registrierte Genossenschaft mit beschränkter Haftung

   Prof. Dr. Herbert Ludl: Geschäftsführer: Hausservice-Objekterrichtungs- und
Bewirtschaftungs GmbH, Neuland gemeinnützige Wohnbau-Gesellschaft m.b.H.,
Urbanbau Gemeinnützige Bau-, Wohnungs- und Stadterneuerungsgesellschaft
m.b.H., Vorstand: Familie, gemeinnützige Wohn- und Siedlungsgenossenschaft
registrierte Genossenschaft mit beschränkter Haftung, SOZIALBAU
gemeinnützige Wohnungsaktiengesellschaft, Volksbau, gemeinnützige Wohn-
und Siedlungsgenossenschaft registrierte Genossenschaft mit beschränkter
Haftung, Wohnbau, gemeinnützige Wohn- und Siedlungsgenossenschaft
registrierte Genossenschaft mit beschränkter Haftung, Aufsichtsrat: "Eisenhof"
Gemeinnützige Wohnungsgesellschaft m.b.H., Wiener Städtische Wechselseitige
Versicherungsanstalt-Vermögensverwaltung

• KR Dr. Günther Geyer: Vorstand: WIENER STÄDTISCHE Allgemeine
Versicherung Aktiengesellschaft, Wiener Städtische Wechselseitige
Versicherungsanstalt-Vermögensverwaltung, Aufsichtsrat: CA Versicherung AG,
Casinos Austria Aktiengesellschaft, Casinos Austria International Holding GmbH,
Donau Allgemeine Versicherungs-Aktiengesellschaft, Österreichisches
Verkehrsbüro             Aktiengesellschaft, SOZIALBAU gemeinnützige
Wohnungsaktiengesellschaft, Sparkassen Versicherung Aktiengesellschaft,
Union Versicherungs-Aktiengesellschaft, WIEN ENERGIE GmbH, Wiener Holding
GmbH

    Kommerzialrat Adolf Wala: Aufsichtsrat: BLM Betriebs-Liegenschafts-
Management GmbH; BurgtheaterGmbH, Casinos Austria Aktiengesellschaft, IG
Immobilien Gesellschaft m.b.H., Münze Österreich Aktiengesellschaft,
SOZIALBAU gemeinnützige Wohnungsaktiengesellschaft

    Dr. Franz Guggenberger: Aufsichtsrat: u.a. Prom Ocean Werbeartikel AG, früher
u.a. auch Gesellschafter der nun gelöschten Brunnengasse 13 Verwaltungs
GmbH

    Mag. Peter Kölbel: Gechäftsführer: u.a. Delta Immobilien Leasing GmbH

    Karl Florian Pfaffinger: Gesellschafter und Geschäftsführer: früher u.a.
Brunnengasse 13 Verwaltungs GmbH

    Herbert Dworak: Prokurist: u.a. KLEA Terrain- und BauGesmbH,

Geschäftsführer: früher u.a. Home-KLEA Immobilien DevelopementsgesmbH,

    Martin Kelemen: Geschäftsführer: früher u.a. Home-KLEA Immobilien
DevelopementsgesmbH


Alle diese Personen sind natürlich auch Adressaten des Spendenaufrufes für den
Solidaritätsfonds der SPÖ. Darüber hinaus sind die von diesen Personen geleiteten
Firmen natürlich auch in der Lage Zuwendungen unter Lebenden von körperlichen
beweglichen Sachen und Geldforderungen der SPÖ zu widmen.

Die unterzeichneten Abgeordneten richten daher an den Präsidenten des Rechnungs-
hofes nachfolgende

Anfrage:

1. Welche Gesamtsumme an Spenden hat die SPÖ in ihrem Rechenschaftsbericht in
den Jahren 1990 bis 2002 insgesamt aufgelistet?

2. Wie verteilt sich diese Gesamtsumme an Spenden an die SPÖ auf die einzelnen
Jahre?

3. Welche Gesamtsumme der Spenden wurde von natürlicher Personen gemäß § 4 Abs
7 Z 1 Parteiengesetz insgesamt an die SPÖ laut Rechenschaftsbericht in den Jahren
1990 bis 2002 zugewendet?

4. Wie verteilt sich diese Gesamtsumme an Spenden natürlicher Personen auf die
einzelnen Jahre?

5. Welche Gesamtsumme der Spenden wurden von im Firmenbuch eingetragenen
natürlichen und juristischen Personen gemäß § 4 Abs 7 Z 2 Parteiengesetz insgesamt
an die SPÖ laut Rechenschaftsbericht in den Jahren 1990 bis 2002 zugewendet?

6. Wie verteilt sich diese Gesamtsumme an Spenden (von im Firmenbuch
eingetragenen natürlichen und juristischen Personen) auf die einzelnen Jahre?

7. Welche Gesamtsumme der Spenden wurde von Vereinen gemäß § 4 Abs 7 Z 3
Parteiengesetz insgesamt an die SPÖ laut Rechenschaftsbericht in den Jahren 1990 bis
2002 zugewendet?

8. Wie verteilt sich diese Gesamtsumme an Spenden von Vereinen auf die einzelnen
Jahre?

9. Welche Gesamtsumme der Spenden wurde von Körperschaften öffentlichen Rechts,
von auf freiwilliger Mitgliedschaft beruhenden Berufs- und Wirtschaftsverbänden, von
Anstalten, Stiftungen oder Fonds insgesamt an die SPÖ laut Rechenschaftsbericht in
den Jahren 1990 bis 2002 zugewendet?

10. Wie verteilt sich diese Gesamtsumme an Spenden von Körperschaften öffentlichen
Rechts, von auf freiwilliger Mitgliedschaft beruhenden Berufs- und
Wirtschaftsverbänden, von Anstalten, Stiftungen oder Fonds auf die einzelnen Jahre ?


11. Hat ein der nachfolgenden Firmen :

    Firma "Gloriette"Betriebs GmbH

    Firma IMAGE Ident Marketing GmbH

    Firma"Merkur-Unternehmensbeteiligung,                 Vermögensverwaltung               und
Finanzierungsvermittlung Gesellschaft m.b.H."

    Firma Verlag der SPÖ Gesellschaft m.b.H

    Firma Echo-Werbeagentur GmbH.

    Firma PROGRESS Beteiligungsges.m.b.H.

    Firma Gewista-Werbegesellschaft m.b.H.

    Firma Scheibmaier Gesellschaft m.b.H.

    Firma VWZ Zeitschriftenverlag Gesellschaft m.b.H.

    Verband Wr. Arbeiterheime

    Firma A.B.H. Beteiligungsgesellschaft m.b.H.

    Firma A.W.H. Beteiligungsgesellschaft m.b.H.

    Firma SOZIALBAU gemeinnützige Wohnungsaktiengesellschaft

    Volksbau,    gemeinnützige    Wohn-    und    Siedlungsgenossenschaft    registrierte
Genossenschaft mit beschränkter Haftung

    Wohnbau,    gemeinnützige    Wohn-    und    Siedlungsgenossenschaft    registrierte
Genossenschaft mit beschränkter Haftung

    Urbanbau   Gemeinnützige   Bau-,   Wohnungs-   und   Stadterneuerungsgesellschaft
m.b.H.

    Firma   Familie,   gemeinnützige  Wohn-   und   Siedlungsgenossenschaft  registrierte
Genossenschaft mit beschränkter Haftung

    Firma Erste gemeinnützige Wohnungsgesellschaft "Heimstätte Gesellschaft m.b.H."

    Firma GEWOG Neues Heim Gemeinnützige Wohnungsgesellschaft m.b.H.

    Eisenhof

    Firma  Gemeinnützige Wohn-  und  Siedlungsgenossenschaft  Ennstal   registrierte
Genossenschaft mit beschränkter Haftung Liezen

    Firma "Kärntner Friedenswerk" gemeinnützige Wohnungsgesellschaft m.b.H.

    Firma  "Neue  Heimat"  Gemeinnützige Wohnungs-  und  Siedlungsgesellschaft  in
Oberösterreich, Gesellschaft mit beschränkter Haftung

    Firma  "Neue  Heimat"  Gemeinnützige Wohnungs-  und  Siedlungsgesellschaft  in
Steiermark, Gesellschaft mit beschränkter Haftung

    Firma Bauträgergesellschaft für Infrastruktureinrichtungen Gesellschaft m.b.H.

    Firma Erste gemeinnützige Wohnungsgesellschaft "Heimstätte Gesellschaft m.b.H."

    Stadtbild Kulturmarketing Ges.m.b.H.

    Allgemeine Finanzierungs-, Geschäftsführungs-und Beteiligungsgesellschaft m.b.H.

    Projekt-Marketing Beratungsgesellschaft m.b.H.

   Trotzdem Verlags Ges.mbH.

    Projektbau

    KLEA Terrain- und Bau GesmbH

    Home -KLEA Immobilien DevelopementsgesmbH

    Delta Immobilien-Leasing GembH

    Brunnengasse 13 Verwaltungs GmbH


laut Rechenschansberichte 1990 -2002 an die SPÖ gemäß § 4 Abs 5 Z 6 bzw Abs 7
gespendet?

12. Hat eine der nachfolgenden Personen:

   Dr.Christoph Matznetter

   Werner Obermayer

   Mag.Dr Maximilian Weikhart

   KommRat Bernd Thorsten Schmid

   Helmut Laska

   Karl Hengelmüller

   Harry Kopietz

   Mag. Werner Muhm Werner

   GD Dkfm. Klaus Stadler

   Hermann Gugler

   Karl Javurek-Steiner

   Dir. Karl Schmutzer

   Ing. Wilhelm Zechner

   Prof. Dr. Herbert Ludl

   KR Dr. Günther Geyer

    Kommerzialrat Adolf Wala

    Dr. Franz Guggenberger

    Mag. Peter Kölbel

    Karl Florian Pfaffinger

    Herbert Dworak

    Martin Kelemen

laut Rechenschaftsberichte 1990 -2002 an die SPÖ gemäß § 4 Abs 5 Z 6 bzw Abs 7
gespendet?

13. Haben Vereinen, wo eine der in Frage 12 genannten Personen Organwalter ist laut
Rechenschaftsberichte 1990 -2002 an die SPÖ gemäß § 4 Abs 5 Z 6 bzw Abs 7
gespendet?

14. Haben Firmen, Körperschaften öffentlichen Rechts, Berufs- und
Wirtschaftsverbände, Anstalten, Stiftungen oder Fonds, wo eine der in Frage 12
genannten Personen Geschäftsführer, Prokurist, Vorstand , Aufsichtsrat ist oder eine
sonstige Funktion bekleidet laut Rechenschaftsberichte 1990 -2002 an die SPÖ gemäß
§ 4 Abs 5 Z 6 bzw Abs 7 gespendet?