234/J XXIV. GP

Eingelangt am 25.11.2008
Dieser Text ist elektronisch textinterpretiert. Abweichungen vom Original sind möglich.

Anfrage

der Abgeordneten KO Strache, Dr. Rosenkranz, Dr. Haimbuchner an
den Pr
äsidenten des Rechnungshofes

betreffend die Veranlagung von Landeswohnbauförderungsgeldern in
Niederösterreich.

I.

Bereits im Jänner 2001 wurde seitens der NÖ Landesregierung der Verkauf der Wohnbauförderungen (WBF) des Landes angedacht. Am 29. Mai 2001 wurde von der NÖ Landesregierung beschlossen, das Verwertungs- und Veranlagungsmodell dem niederösterreichischen Landtag zur Beschlussfassung vorzulegen.

Wesentlicher Inhalt des Antrages war, dass der, dem Land NÖ zufließende Verwertungserlös an eine ebenfalls neu zu gründende und im Eigentum einer Privatstiftung stehenden in- oder ausländischen Veranlagungsgesellschaft als Fremdkapital weitergeleitet wird. Aus dieser Portfolioveranlagung, die durch einen von Banken unabhängigen Investmentbanker durchgeführt wurde, sollten dem Land Niederösterreich jährlich budget- und maastrichtwirksame Einnahmen zufließen.

Der letztlich angenommene Antrag enthält im Punkt 5. den Passus, dass die nö. Landesregierung ermächtigt wird, die zur Durchführung des Landtagsbeschlusses erforderlichen Maßnahmen zu treffen. Am 12. Juni 2001 beschloss die NÖ Landesregierung die Vergabe der Verwertung und Veranlagung der Wohnbauförderungsdarlehen des Landes NÖ auf Grund eines Vorschlages der Vergabekommission an die CITIBANK London, 33 Canada Square. Die CITIBANK wurde ermächtigt, an andere Banken Subaufträge hinsichtlich Finanzierung und Veranlagung zu erteilen. Folgende Banken und Fonds waren an den Veranlagungen beteiligt: Raiffeisen, Union Panagora, Pioneer Investments Austria, Barclays (England), DWS Vermögen (Deutsche Bank), State Street (Deutschland), Jennison, Russell, Raiffeisen Capital Management, Credit Suisse Asset Management, Wellington und Kathrein.


II.

Zudem wurden Landeshauptmann-Stellvertreter Liese Prokop und Landesrat Mag. Wolfgang Sobotka ermächtigt, die für die Durchführung der Transaktionen erforderlichen Verträge mit dem Bestbieter abzuschließen. Dieser Beschluss wurde am 20. November 2001 dahingehend modifiziert, dass laut Punkt 4 des oben angeführten Beschlusses vom 12. Juni 2001 Landeshauptmann-Stellvertreter Liese Prokop und Landesrat Mag. Wolfgang Sobotka ermächtigt wurden die für die Durchführung der Transaktion erforderlichen Verträge abzuschließen. Der Satzteil mit dem Bestbieter" entfiel.

III.

Am 28. Juni 2001 stimmte der NÖ Landtag in einem Gesetzesbeschluss der Veranlagung der Einnahmen aus der Verwertung der Wohnbauförderungsdarlehen zu (Tranche 1). Der erzielte Erlös betrug 35,4 Mrd. Schilling. Die Vorgaben des Landtages waren die Erzielung von Zusatzerträgen für das Land NÖ, die Erzielung Maastricht-relevanter Einnahmen, keine Veränderung in der Situation der Darlehnsnehmer, die Schaffung der Möglichkeit einer befristeten Einräumung für eine vorzeitige Rückzahlung durch die derzeitigen Darlehnsnehmer und die Optimierung der Transaktionskosten. Darüber hinaus wurde jedoch vom NÖ Landtag in keiner Phase Einfluss auf das operative Geschäft der Veranlagung genommen.

IV.

In der Folge wurden dann landeseigene Spezialgeseilschaften gegründet, deren Organe unter der alleinigen Verantwortung des ressortzuständigen Mitgliedes der NÖ Landesregierung LR Mag. Sobotka, als Eigentümervertreter, in einem Splitting von 40% Aktien und 60% Anleihen die Veranlagung vornahmen. Am 15. Jänner 2002 beschloss die NÖ Landesregierung die Bestellungen des Aufsichtsrats und des Beirats der Verhandlungsgesellschaft Vermögensverwaltungs GmbH. Der Aufsichtsrat wurde als Kontrollorgan gemäß GmbH-Gesetz eingerichtet und der Beirat als ein ausschließliches Beratungsorgan hinsichtlich der Veranlagung. Der Aufsichtsrat hat in der konstituierenden Sitzung u.a. das Splitting in 60% Anleihen und 40% Aktien beschlossen. Es wurde somit grünes Licht" für das in der Folge sich als defizitär herausstellende Vorgehen gegeben.

V.

Mit 25.2.2002 wurden insgesamt 2.442.020.233,-- Euro als Ertrag aus dem Verkauf der Wohnbauförderungsdarlehen veranlagt. Somit bereits rund 151 Mio. weniger als der Barwert der Wohnbauförderungsdarlehen. Davon wurden 978.000.000,-- Euro in sechs eigens für diesen Zweck gegründete Aktienfonds veranlagt und 1.464.000.000.-- Euro in Anleihen. Die Veranlagung entwickelte sich bis zum Stand 12.12.2002 derart, dass sich der Wert der Aktienfonds insgesamt um 27,89% auf 705.275.682,-- Euro reduzierte. Die Wertminderung betrug somit 272.724.318,-- Euro. Die einzelnen Aktienfonds, in denen Beträge zwischen 80.000.000,-- Euro und 284.000.000.-- Euro veranlagt wurden, haben durchgehend Verluste geschrieben, die sich in der Höhe zwischen 25,7% und 30,11% bewegten.

Die Veranlagung in den sechs Anleihenfonds entwickelte sich dagegen positiv und wies in der Gesamtsumme zum 12.12.2002 einen Gesamtwert von 1.562.025.901,-- Euro aus, was einen Zugewinn von 98.025.901,-- Euro oder ein Plus von 6,96% ergibt. Die einzelnen Fonds erreichten Zuwächse zwischen 6% und 7,84%. Unter Berücksichtigung der Gewinne aus der Anleihenveranlagung betrug der Nettoverlust der gesamten Veranlagung zum 12.12.2002 174.718.650,-- Euro, so dass der Kapitalstand zu diesem Stichtag 2.267.301.583,-- Euro betrug. Nach dem ersten Jahr betrug der Verlust damit bereits rund 325 Mio. .

VI.

In weiterer Folge kam es mit Regierungsbeschluss vom 1. Juli 2003 zu einer Rückkaufaktion (vorzeitige Rückzahlung) von Wohnbaudahrlehen. Auf der Grundlage des Landtagsbeschlusses vom 28. Juni 2001 wurden insgesamt 25.700 Darlehen zurück gekauft. Der Erlös wurde im Wege der Land Niederösterreich Vermögensverwaltung GmbH.& Co OEG veranlagt.

VII.

Seit dem Verkauf der ersten Tranche Wohnbauförderungsdarlehen im Jahre 2001 wurden vom Land Niederösterreich bis Ende 2006 mehr als weitere 30.000 neue Wohnbauförderungsdarlehen vergeben. Der Nominalwert dieser neu vergebenen Darlehen betrug rund 2 Mrd. . Es wurden rund 33.000 Darlehen in einer 2. Tranche verwertet. Rahmenbedingungen und Ziele des Verfahrens waren die Maximierung des Verkaufserlöses, die Maastrichtkonformität, eine rasche Abwicklung und die Beibehaltung der Situation der Darlehensnehmer.

Mit Regierungsbeschluss vom 20. Februar 2007 wurde LR Mag. Sobotka ermächtigt, die erforderlichen Transaktionen durchzuführen und die Verträge zu unterfertigen. Mit der Verwertung wurde die NÖ Landesbank-Hypothekenbank AG beauftragt. Dem Land flossen aus dem Verkauf Barmittel in der Höhe von rund 985 Mio. zu. Tatsächlich zur Veranlagung gelangten schließlich rund 842 Mio. . Mit dem Differenzbetrag wurden die Transaktionskosten sowie der Nettoabgang des Landesbudgets 2007 abgedeckt.

VIII.

Abschließend ist daher zu vermuten, dass einem Gesamtkapital der Veranlagung in der Höhe von 4,422 Mrd. steht ein Gesamtkapitalstand der Veranlagung Ende Aug. 2008 in der Höhe von 4.016,2 Mio. gegenüber steht. Der aktuelle Verlust dürfte aber deutlich höher sein. Die zum Zeitpunkt des Verkaufes der Wohnbauförderungsdarlehen aushaftenden Darlehen hatten einen Wert von 4, 703.836.877,59 . Unter Berücksichtigung der Abzinsung" von rund 5% p.a. und weiteren Kosten und Spesen kamen letztlich nur 2,442 Mrd. der bei allen erzielbaren Renditen jedenfalls gegen zu rechnen ist. Das heißt dem Land NÖ wären bis zum Auslaufen der Darlehen 4,7 Mrd. an Einnahmen zugeflossen aus der Veranlagung die Tranche waren es bisher 708,4 Mio. .

IX.

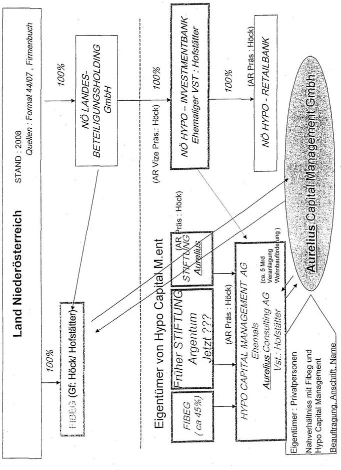
Im Zuge der Verwertung der Wohnbauförderungsdarlehen gründete das Land NÖ eine Finanzierungs- und Beteiligungsgesellschaft m.b.H. (FIBEG), die die Veranlagung durchführen sollte. Die FIBEG bedient sich in Form von Geschäftsbesorgungsaufträgen ihrerseits jedoch wieder weiterer Gesellschaften und Stiftungen, wie der zB. HYPO CAPITAL MANAGEMENT AG. Auffallend dabei ist, dass es zwar häufig zu personellen Rochaden kommt die handelnden Personen jedoch stets die gleichen sind. Dieses Konstrukt ist auch von einer immensen Intransparenz gekennzeichnet (Beilage 1).

In diesem Zusammenhang erscheinen folgende Fragen aufklärungswürdig:

I.                                           Entspricht die Verwertung und Veranlagung der Wohnbauförderungsdarlehen des Landes Niederösterreich den Kriterien der Rechtmäßigkeit, Sparsamkeit, Wirtschaftlichkeit und Zweckmäßigkeit?

II.                                         Erfolgte   die   Vergabe   vom   12.   Juni   2001   sowie   die   Modifikation   des Vergabebeschlusses vom 20. November 2001 insbesondere der Entfall des Satzteiles mit dem Bestbieter", rechtskonform?

III.                                       Wurden die Vorgaben des NÖ Landtages hinsichtlich des Landtagsbeschlusses vom 28. Juni 2001 betreffend die erste Tranche der Verwertung eingehalten?

IV.                                 Erfolgte die Gründung von landeseigenen Spezialgesellschaften und deren Aufgliederung der Veranlagung in 60% Anleihen und 40% Aktien nach den Kriterien     der     Rechtmäßigkeit,     Sparsamkeit,     Wirtschaftlichkeit     und Zweckmäßigkeit?

V.                                   Welche Konsequenzen wurden, nachdem bereits im ersten Jahr erhebliche Verluste eingefahren wurden, seitens der NÖ Landesregierung, b.z.w. seitens des zuständigen Landesrates Mag. Sobotka, gesetzt? Wie sind diese Maßnahmen aus ökonomischer Sicht zu beurteilen?

VI.               Erfolgte die Veranlagung des Erlöses der auf Grundlage des Regierungsbeschlusses vom 1. Juli 2003 rückgekauften Darlehen nach den Kriterien der Rechtmäßigkeit, Sparsamkeit, Wirtschaftlichkeit und Zweckmäßigkeit?

VII.              Erfolgte die Verwertung der zweiten Tranche der rückgekauften Darlehen nach den Kriterien der Rechtmäßigkeit, Sparsamkeit, Wirtschaftlichkeit und Zweckmäßigkeit, insbesondere auch in Hinblick auf die, gegenüber der NÖ Landesbank-Hypothekenbank AG entstandenen Transaktionskosten?

VIII.            Wie hoch ist der aktuelle Verlust der Gesamtveranlagung?

IX.               Entspricht die Transaktion von öffentlichem Geld in das Firmengeflecht der „FIBEG", sowie der Umgang mit diesen Geldern den Kriterien der Rechtmäßigkeit, Sparsamkeit, Wirtschaftlichkeit und Zweckmäßigkeit?

In diesem Zusammenhang ergeht an den Präsidenten des Rechnungshofes folgende Anfrage:

1.                 Wird der Prüfplan des Rechnungshofes für das Jahr 2009 die Veranlagung von Wohnbauförderungsdarlehen in Niederösterreich beinhalten?

2.        Wenn nein, warum nicht?